万达首次赎回一座万达广场
财闻
2025-12-03 14:47:53
2024年7月,大连万达商管曾将所持股权出售给坤华及坤元辰兴,此次回购意味着项目控制权在不足半年后重回万达体系。
企查查APP显示,近日,烟台芝罘万达广场有限公司发生工商变更,新华保险旗下坤华(天津)股权投资合伙企业(有限合伙)、坤元辰兴(厦门)投资管理咨询有限公司退出股东行列,新增万达商管旗下上海万达锐驰企业管理有限公司为全资控股股东,同时多位高管发生变更。

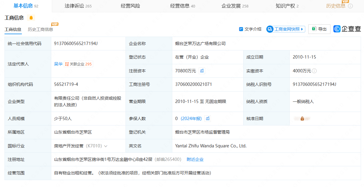
工商资料显示,烟台芝罘万达广场成立于2010年11月,注册资本7.08亿元,主营自有物业出租与经营。2024年7月,大连万达商管曾将所持股权出售给坤华及坤元辰兴,此次回购意味着项目控制权在不足半年后重回万达体系,也意味着在抛售40多座万达广场之后,万达集团首次赎回一座万达广场。


