自嗨锅被申请破产审查
财闻
2026-02-06 12:37:43
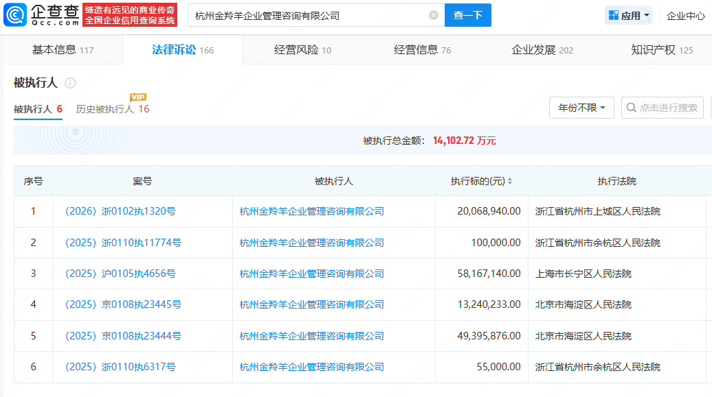
杭州金羚羊企业管理咨询有限公司关联多条被执行人信息,被执行总金额超1.4亿元。
企查查APP显示,近日,自嗨锅关联公司杭州金羚羊企业管理咨询有限公司新增一则破产审查案件信息,申请人为自然人马某某,经办法院为浙江省杭州市余杭区人民法院。

目前,杭州金羚羊企业管理咨询有限公司关联多条被执行人信息,被执行总金额超1.4亿元。


企查查APP显示,近日,自嗨锅关联公司杭州金羚羊企业管理咨询有限公司新增一则破产审查案件信息,申请人为自然人马某某,经办法院为浙江省杭州市余杭区人民法院。
目前,杭州金羚羊企业管理咨询有限公司关联多条被执行人信息,被执行总金额超1.4亿元。