华能国际、悦达投资等成立海上风力发电公司,注册资本11亿
财闻
2026-04-01 08:48:02
经营范围包含:太阳能热利用产品销售;储能技术服务;太阳能发电技术服务;新材料技术研发等。
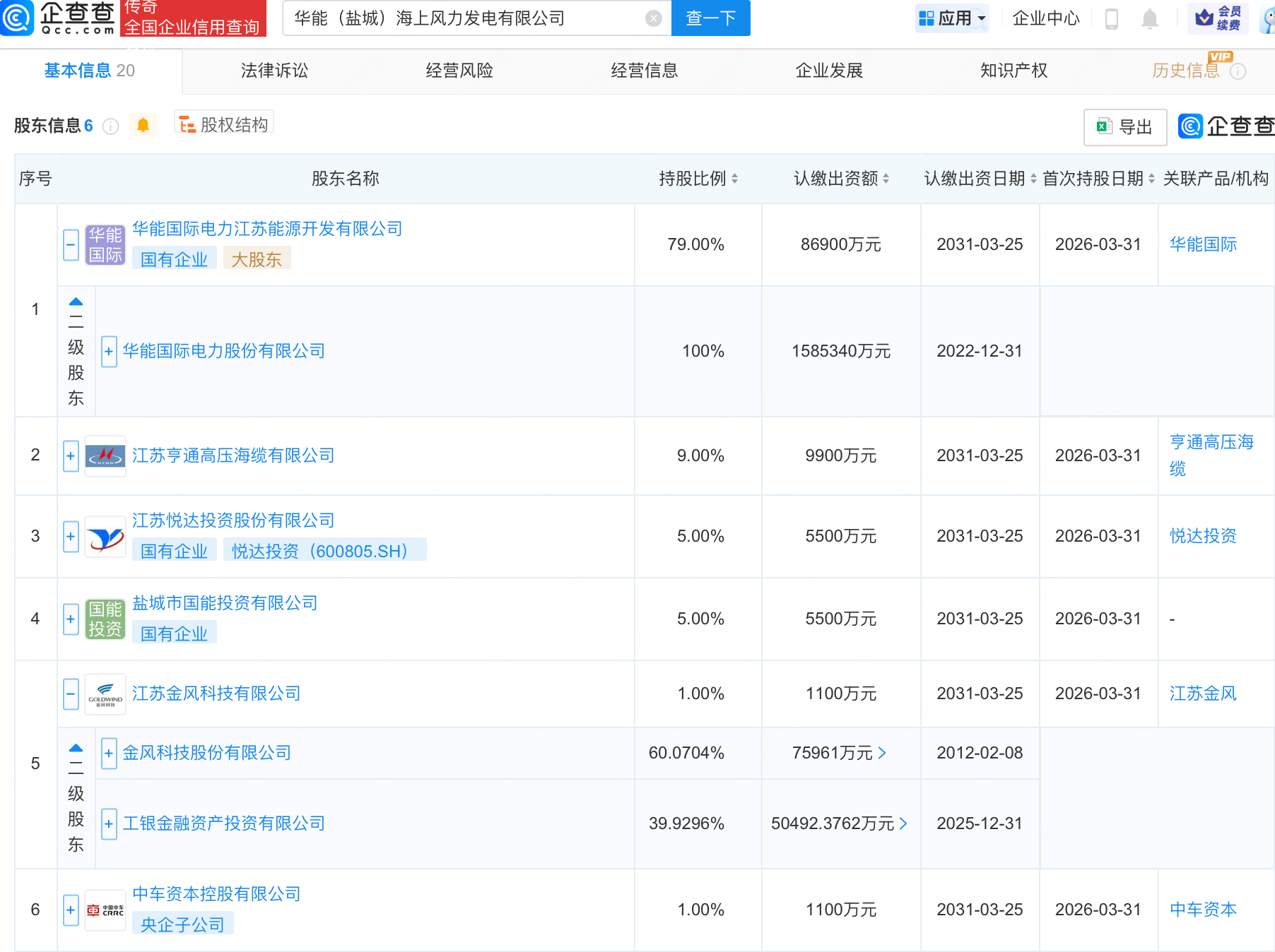
企查查APP显示,近日,华能(盐城)海上风力发电有限公司成立,注册资本11亿元,经营范围包含:太阳能热利用产品销售;储能技术服务;太阳能发电技术服务;新材料技术研发等。企查查股权穿透显示,该公司由华能国际(600011.SH)全资子公司华能国际电力江苏能源开发有限公司、悦达投资(600805)等共同持股。



