万达电影更名,王健林仍有数亿元股权被冻结
财闻
2026-04-20 15:25:39
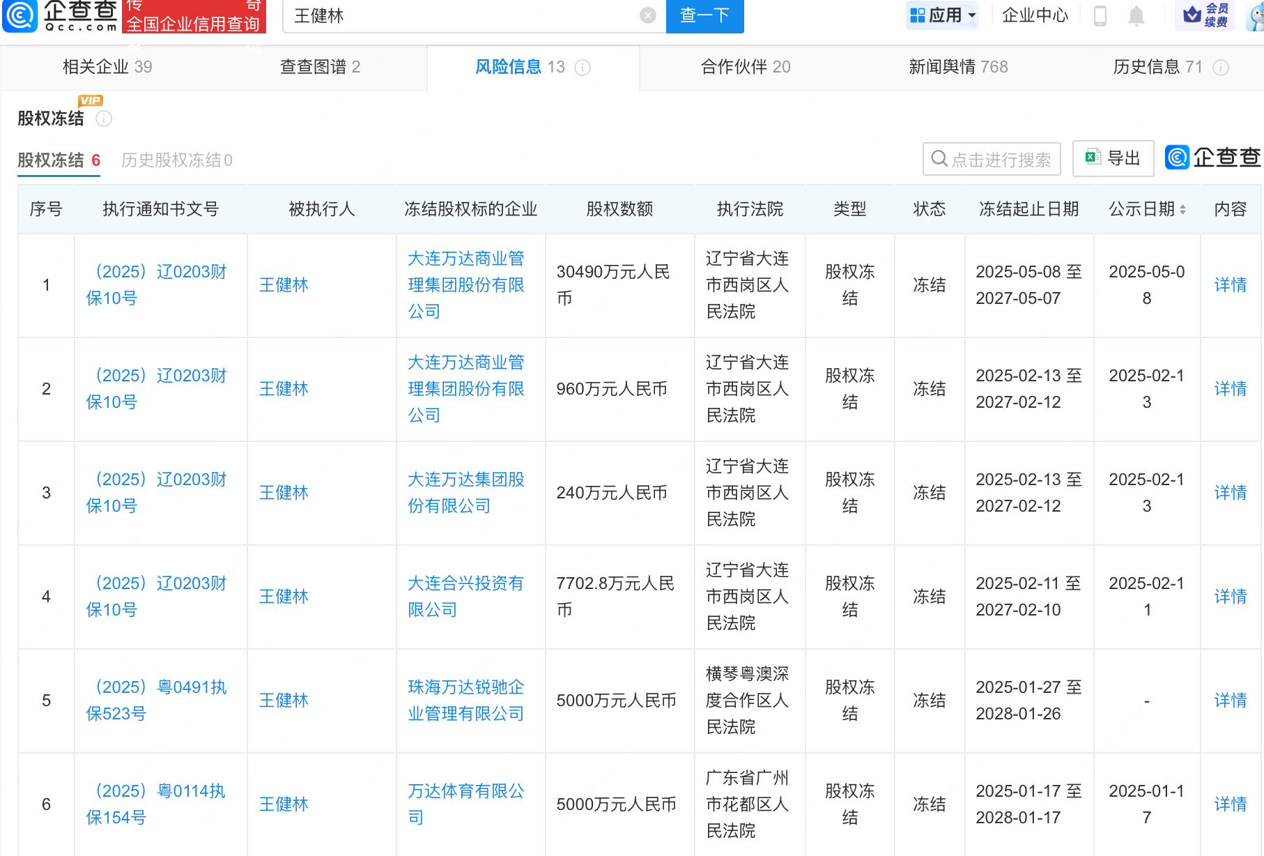
企查查APP显示,王健林名下关联30余家公司,目前仅9家存续、1家迁出,王健林在存续企业中担任经理、董事、董事长等职务。
4月19日,万达电影公告称,公司已完成工商变更登记手续,并取得换发的《营业执照》。公司名称由“万达电影股份有限公司”变更为“儒意电影娱乐股份有限公司”,证券简称由“万达电影”变更为“儒意电影”,证券代码“002739”保持不变。新证券简称自2026年4月20日起启用。
企查查APP显示,王健林名下关联30余家公司,目前仅9家存续、1家迁出,王健林在存续企业中担任经理、董事、董事长等职务。风信息显示,王健林目前仍有数亿元股权被冻结,其中其所持大连万达商业管理集团股份有限公司3.049亿元股权将冻结至2027年5月。、




