宁德时代发布麒麟凝聚态电池新品,其已注册多枚麒麟电池商标
财闻
2026-04-22 16:24:45
宁德时代在其超级科技日上,发布了麒麟凝聚态电池新品,据悉,搭载该电池的电动车续航可达1500公里。
4月21日,宁德时代(300750.SZ)在其超级科技日上,发布了麒麟凝聚态电池新品,据悉,搭载该电池的电动车续航可达1500公里。
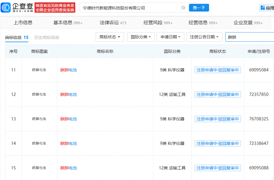
企查查APP显示,宁德时代已申请注册多枚“麒麟”、“麒麟电池”、“时代麒麟”商标,国际分类包括运输工具、科学仪器等。



