遭近百位明星起诉,贩卖“美丽”的新氧是否也有焦虑?
除了部分推广和服务上的问题,新氧自身的业绩也面临下行。
6月17日,因网络侵权责任纠纷,苏炳添起诉得物,事情的起因在于得物公众号推文里未经授权的肖像图。
事实上,不光是体育明星,也不光是电商平台,因照片使用产生的纠纷数不胜数,在重视“美丽宣传”的医美行业更是如此。
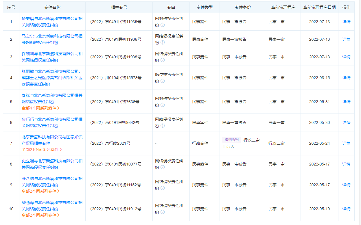
据天眼查,北京新氧科技有限公司(以下简称“新氧”)新增多条网络侵权责任纠纷案件,原告方包括:秦岚、许魏洲、蒋勤勤、张含韵、金巧巧等明星。据不完全统计,自2016年10月以来,共有90余位明星因“网络侵权责任纠纷、肖像权纠纷”起诉新氧医美,除上述明星外,还有鹿晗、华晨宇、鞠婧祎等明星。

资料显示,新氧公司成立于2013年11月,2019年在美上市,旗下的新氧美容App和新氧网是美容整形社交和电商平台。提供整容、微整形、激光美肤的在线交流问答、点评和特卖服务。
对此,新氧回应媒体称,上述网络侵权责任纠纷涉及的争议均来自于发布在去年10月份之前的内容。在2021年10月,新氧已经针对类似的诉讼发布了公开声明:我们会与当事人积极沟通并和解,并将全力配合北京互联网法院的相关工作。
银柿财经记者注意到,去年10月份,新氧曾发布过一则道歉声明,声明指出新增的开庭公告信息,均为针对公司运营公众号中使用明星照片引起的网络侵权纠纷。
同年11月,监管部门也对医疗美容广告加强了监管,发布了《医疗美容广告执法指南》,规定医疗美容广告属于医疗广告,广告主必须依法取得医疗机构执业许可证才能发布或者委托发布医疗美容广告。广告主发布医疗美容广告,必须依法取得《医疗广告审查证明》。此外,对于违背社会良好风尚,制造“容貌焦虑”,利用广告代言人为医疗美容做推荐、证明等现象将依法进行整治。
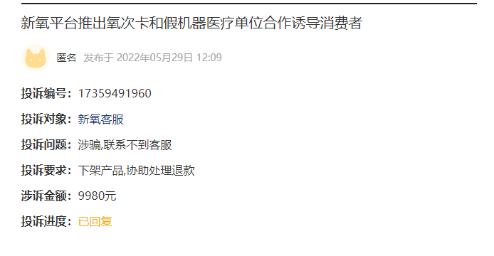
不过银柿财经记者注意到,在消费者服务平台黑猫投诉上,仍有不少消费者质疑新氧虚假宣传。有用户表示,在新氧平台上的一家机构做了一次超皮秒,一次M22(光子嫩肤),次次过敏,同时发现机构的仪器没有官方授权,平台客服也联系不上,因此要求下架相关产品,并协助退款。

而除了部分推广和服务上的问题,新氧自身的业绩也面临下行。
根据新氧最新的财报,2022年一季度,新氧实现营业收入3亿元,同比下降16.5%。其中信息服务和其他收入为2亿元,同比下降了28.2%;预订服务的收入为4240万元,同比下降了48.2%;设备销售及维修服务收入为5850万元;净亏损6680万元,去年同期为4500万元。
对于营收下滑,新氧解释称,主要是由于疫情影响以及单个医疗服务提供商带来的平均收入下降。
财报显示,2022年第一季度,新氧的平均移动MAU为440万,去年同期为840万,付费的服务提供商数量为5254家,同比增长11.7%。订阅信息服务的医疗服务提供商数量为1891家,去年同期为2191家。
财报发布之后,新氧的股价至今已跌去20.81%,最新市值已不到1亿美元,而在上市首日,新氧的市值曾一度超过18亿美元,未来新氧要如何才能恢复“美丽”,银柿财经记者将持续关注。


